ИННОВАЦИИ БИЗНЕСУ

ПОДРОБНАЯ ИНФОРМАЦИЯ

Заявку на получение дополнительной информации по этому проекту можно заполнить здесь.

Номер

36-006-01

Наименование проекта

Устройство для сухого пылеулавливания при термическом бурении

Назначение

Повышение эффективности очистки высокотемпературных газов от пыли при бурении

Рекомендуемая область применения

Горная промышленность и другие отрасли, где необходима высокая степень очистки высокотемпературных газов от дисперсной гидрофобной пыли

Описание

Результат выполнения конструкторской разработки

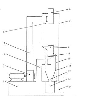
Состоит (см. рисунок) из пылеприемного зонта 1, вентилятора 2, вихревого аппарата 7, цилиндрического циклона 10, дополнительного 13 и основного 14 бункеров сбора пыли.

Устройство для сухого пылеулавливания работает следующим образом. Воздушно-пылевой поток с полидисперсной пылью из полости пылеприемного зонта 1 поступает по входному патрубку 3 в цилиндрический циклон 10, в котором поток раскручивается за счет тангенциального ввода и крупные фракции пыли оседают по стенам циклона в дополнительный бункер сбора пыли 13. Дополнительный бункер прикреплен к нижней части корпуса циклона. Закрученный воздушно-пылевой поток с тонкодисперсной пылью через выходной патрубок 9, совмещенный с входным патрубком 8, поступает в корпус вихревого аппарата 7. Взаимодействуя с атмосферным воздухом от вентилятора 2 спутно закрученным тангенциальным патрубком 4, в верхней части корпуса вихревого аппарата получается дополнительное ускорение вращения и охлаждение воздушно-пылевого потока. Это снижает вязкость и несущую способность потока, способствует конденсации влаги на частицах пыли и облегчает их сепарацию центробежными силами из высокотемпературного потока на стенки корпуса вихревого аппарата. Сепарированная тонкодисперсная пыль по патрубку 11 поступает в бункер сбора пыли 14, а очищенный воздух через выходной патрубок 6 выбрасывается в атмосферу. Предварительная очистка воздушно-пылевого потока от крупных частиц пыли повышает улавливающую способность вихревого аппарата на 15-20%, а исключение подачи атмосферного воздуха во входной патрубок вихревого аппарата снижает общую воздушно-пылевую нагрузку на вихревой аппарат и уменьшает металлоемкость устройства. Ликвидируется забивание первичного ввода дисперсным материалом при работе на переменных режимах.

Устройство для сухого пылеулавливания при термическом бурении.



Преимущества перед известными аналогами

Уменьшение металлоемкости устройства за счет снижения воздушно-пылевой нагрузки на вихревой аппарат

Стадия освоения

Внедрено в производство

Результаты испытаний

Технология обеспечивает получение стабильных результатов

Технико-экономический эффект

Повысилась улавливающая способность и надежность работы устройства в 1,5 раза, снижена металлоекость

Возможность передачи за рубеж

Возможна передача за рубеж

Дата поступления материала

23.04.2001

Инновации и люди

У павильонов Уральской выставки «ИННОВАЦИИ 2010» (г. Екатеринбург, 2010 г.)

Мероприятия на выставке "Инновации и инвестиции - 2008" (Югра, 2008 г.)

Открытие выставки "Малый бизнес. Инновации. Инвестиции" (г. Магнитогорск, 2007 г.)

Демонстрация разработок на выставке "Малый бизнес. Инновации. Инвестиции" (г. Магнитогорск, 2007 г.)