ИННОВАЦИИ БИЗНЕСУ

ПОДРОБНАЯ ИНФОРМАЦИЯ

Заявку на получение дополнительной информации по этому проекту можно заполнить здесь.

Номер

10-027-01

Наименование проекта

Штапелятор отходов хлопчатобумажного и швейного производств

Назначение

Для разволокнения отходов хлопчатобумажного и швейного производств в виде лоскута, путаной пряжи и ниток в однородную целлюлозосодержащую волокнистую массу .

Рекомендуемая область применения

Преприятия текстильной и швейной промышленности.

Описание

Результат выполнения конструкторской разработки.

Штапелятор предназначен для разволокнения отходов хлопчатобумажного и швейного производств в виде лоскута, путаной пряжи и ниток в однородную целлюлозосодержащую волокнистую массу с последующим получением биологически активных материалов медицинского назначения, низкономерной пряжи и нетканых материалов.

Его конструкция включает узлы питания и штапелирования; главный и съёмный барабаны; съёмно-выводное и аэродинамическое устройства; централизованную пневмомеханическую систему удаления сорных примесей и пыли.

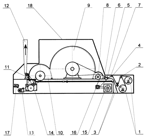
Технологическая схема штапелятора представлена на рисунке1.

Принцип работы штапелятора.

Катушки 1 (см.рис.1) с сформированным из волокнистых отходов полуфабрикатом надёжно располагаются на цилиндрических опорах системы питания. Их количество определяется рабочей шириной штапелятора. Полуфабрикат равномерно разматывается с катушек, проходит между пальцами 2 направляющей гребёнки, уплотняется в рабочей зоне

давильных валов 3 и в трансформированном виде поступает на принимающий валик 4. Частота вращения катушек обусловливается выбранным режимом питания штапелятора. Затем материал поступает

в устройство, содержащее профильный прижимной валик 5, питающий валик 6 и взаимодействующий с ними питающий столик 7. Работа валиков оказывает демпфирующее воздействие на волокнистый материал, прижимая его к неподвижной плоскости стола. При этом осевое

перемещение опор питающего валика кинематически передаётся

датчикам контроля линейной плотности настила. В силу того, что

принимающий и питающий валики обтянуты цельнометаллической пильчатой гарнитурой с различной направленностью зубьев, в узле

питания обеспечивается надёжная фиксация полуфабриката перед штапелированием. Линейные скорости принимающего и питающего валиков различны. Кинематически установленное изменение скорости движения материала вызывает непрерывное умеренное растягивание полуфабриката в зоне питания. В это время его молекулярная структура претерпевает ориентационные изменения. В результате чего обеспечивается

высокая равномерность поперечного сечения волокнистого материала, улучшаются его упруговязкие характеристики, стабилизируется крутка. При таком способе транспортировании материала в питающем узле

зубья гарнитуры валиков вдавливаются в его поверхностные слои. Из-за чего на поверхности полуфабриката появляются профильные нарезки. Таким образом, последовательно формируются условия для успешного вероятностного штапелирования материала.

Из зоны питания волокнистый полуфабрикат направляется

в рабочие зоны приёмного 8 и главного 9 барабанов. Эффективно разволокнённая и тщательно очищенная волокнистая масса с главного барабана переходит на съёмный барабан 10. Вследствие чего из регенерированного материала формируется волокнистый прочёс.

С поверхности съёмного барабана прочёс удаляется посредством механизма съёмного гребня 11 и через аэродинамическую систему 12 направляется к месту дальнейшей технологической переработки.

Привод узлов питания, съёмного барабана и механизма съёмного гребня осуществляется двигателем 13 и редуктором 14. Основными рабочими элементами привода приёмного и главного барабанов являются двигатель 15 и гидромеханическая муфта 16. Привод локальной системы угароудаления включает в себя двигатель 17.

Все динамически опасные места штапелятора имеют надёжные ограждения 18.

Практическое использование штапелятора позволяет

исключить трудоёмкую ручную загрузку отходов, обеспечить равномерность волокнистого настила в узле питания,

улучшить качество подготовки полуфабриката перед штапелированием, получить регенерированную хлопковолокнистую массу с высокими технологическими и реологическими характеристиками.



Рис.1. Технологическая схема штапелятора отходов хлопчатобумажного и швейного производств.


Преимущества перед известными аналогами

Позволяет исключить трудоёмкую ручную загрузку отходов, обеспечить равномерность волокнистого настила в узле питания, улучшить качество подготовки полуфабриката перед штапелированием.

Стадия освоения

Внедрено в производство

Результаты испытаний

Соответствует технической характеристике изделия (устройства)

Технико-экономический эффект

Производительность штапелятора увеличилась на 3-4%. Штапельная длина регенеративного продукта увеличилась на 3,8 - 4,2 мм.

Возможность передачи за рубеж

Возможна передача за рубеж

Дата поступления материала

11.05.2001

Инновации и люди

У павильонов Уральской выставки «ИННОВАЦИИ 2010» (г. Екатеринбург, 2010 г.)

Мероприятия на выставке "Инновации и инвестиции - 2008" (Югра, 2008 г.)

Открытие выставки "Малый бизнес. Инновации. Инвестиции" (г. Магнитогорск, 2007 г.)

Демонстрация разработок на выставке "Малый бизнес. Инновации. Инвестиции" (г. Магнитогорск, 2007 г.)