ИННОВАЦИИ БИЗНЕСУ

ПОДРОБНАЯ ИНФОРМАЦИЯ

Заявку на получение дополнительной информации по этому проекту можно заполнить здесь.

Номер

10-016-01

Наименование проекта

Устройство для контактной сушки длинномерных материалов

Назначение

Для повышения экономичности и эффективности процесса сушки.

Рекомендуемая область применения

В технологических линиях крксильно-отделочного производства текстильной промышленности.

Описание

Результат выполнения конструкторской разработки.

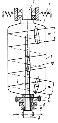
Устройство для контактной сушки длинномерных материалов содержит сушильный цилиндр 1 (см.рис.1), верхнюю и нижнюю опоры с цапфами 2 и 3, подшипники качения 4 и 5, передаточный элемент 6, упругие элементы 7, торцевое уплотнение 8, перфорированную трубу 9, транспортирующий орган 10, выполненный в виде пары усеченных конусов 11 (см.рис.2), сопряженных большими основаниями, транспортирующий орган 10 установлен на оси 12 и снабжен устройством, контролирующим положение материала 13, состоящим из привода 14, пневмораспределительных элементов 15 и 16, контролирующий элемент 17, ползун 18, установленный на кулисе 19, привод 14 подключен к оси 12 транспортирующего органа 10 посредством шарнира 20.

Устройство работает следующим образом.

Поступающий на рабочую поверхность сушильного цилиндра 1 длинномерный материал 13 с относительной влажностью 90% набегает под углом 15°по отношению к оси его вращения, направляется транспортирующими органами 10 и перемещается по спиралевидной траектории, контактируя с горячей поверхностью цилиндра 1, закрепленного на цапфах 2 и 3, установленных в опорах качения так, что при возникновении поперечных возмущенных сил (центробежных неуравновеншенных, колебании величины натяжения полотна) верхняя опора, имеющая упругие элементы 7, совершает гармонические затухающие колебания (благодаря чему рассеивается кинетическая энергия, а конструкция изолируется от вредных воздействий динамических нагрузок), относительно нижней опоры. Обогрев рабочей поверхности цилиндра 1 обеспечивается циркулирующим теплоносителем через нижнюю полую цапфу 3 посредством уплотнения 8 и перфорированной трубы 9, равномерно распределяющей теплоносителем внутри обечайки по ее высоте через отверстия с переменным шагом и сечениями. Скапливающийся в нижнем днище конденсат отводится через кольцевое отверстие в цапфе 3 благодаря перепаду давления внутри обечайки и конденсатной линии, что исключает возможность растекания конденсата в виде кольца по внутренней поверхности рабочей греющей части цилиндра 1, снижающего нагрузку на опоры.

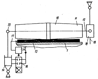
Перемещающийся по спиралевидной траектории «кромка - к кромке» материал 13 центрируется в зонах набегания и сбегания, а также на каждом витке траектории движения материала 13 транспортирующими органами 10 (см.рис1., рис.2). При совмещении средней линии движущегося материала 13 со средней линией спиралевидной траектории силовое взаимодействие транспортирующего органа 10 с цилиндром 1 происходит по максимальному диаметру без наличия осевых центрирующих сил. В случае смещения средней линии материала 13 относительно средней линии траектории происходит изменение положения контролирующего элемента 17, взаимодействующего с кромкой материала 13 и регулирующего подачу сжатого воздуха через пневмораспределительные элементы 15, 16 и привода 14, изменяющего положение транспортирующего органа 10, создающего требуемое направление и величину осевой центрирующей силы при взаимодействии конусных поверхностей транспортирующего органа 10 с поверхностью материала 13 на цилиндре 1, а также с ползуном 18, установленным на кулисе 19.

Для тканей бытового ассортимента желательна усадка и следует использовать схему заправки материала 13 «снизу - вверх», а для тканей технического назначения - «сверху - вниз».



Рис.1. Устройство для контактной сушки длинномерных материалов





Рис.2. Схема работы транспортирующего органа устройства для контактной сушки длинномерных материалов.

Преимущества перед известными аналогами

Для повышения экономичности и эффективности сушки, цилиндр размещен вертикально и дополнительно на торцах снабжен фиксирующими опорами, каждый транспортирующий орган дополнительно снабжен устройством, контролирующим положение материала.

Стадия освоения

Опробовано в условиях опытной эксплуатации

Результаты испытаний

Соответствует технической характеристике изделия (устройства)

Технико-экономический эффект

Годовой экономический эффект на 1 машину составил 8 тыс. рублей. За счет вертикального размещения цилиндра, размер устройства уменьшился на 0,5 м.

Возможность передачи за рубеж

Возможна передача за рубеж

Дата поступления материала

17.01.2001

Инновации и люди

У павильонов Уральской выставки «ИННОВАЦИИ 2010» (г. Екатеринбург, 2010 г.)

Мероприятия на выставке "Инновации и инвестиции - 2008" (Югра, 2008 г.)

Открытие выставки "Малый бизнес. Инновации. Инвестиции" (г. Магнитогорск, 2007 г.)

Демонстрация разработок на выставке "Малый бизнес. Инновации. Инвестиции" (г. Магнитогорск, 2007 г.)