ИННОВАЦИИ БИЗНЕСУ

ПОДРОБНАЯ ИНФОРМАЦИЯ

Заявку на получение дополнительной информации по этому проекту можно заполнить здесь.

Номер

54-303-00

Наименование проекта

Газовая вагранка

Назначение

Для плавки чугуна

Рекомендуемая область применения

В литейном производстве и в области металлургии при производстве высококачественных отливок.

Описание

Описание к ИЛ №54-303-00

Конструкция является результатом выполнения конструкторской разработки.

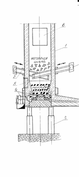
Состоит (см.рис.) из шахты 1, установленной на опорную часть 3.В нижней


части шахты имеется загрузочное окно 5 для топлива.

Рис.1. Газовая вагранка

Для разделения негорючей шихты и шахты, где размещается топливо, вводятся с двух противоположных сторон металлические балки 2, выполненные из высокожаропрочного материала.

Выше подвижных балок имеется второе загрузочное окно 6 для негорючей шихты. Ниже балок установлены газовые горелки 4.

Преимущества перед известными аналогами

Простота конструкции и обслуживания

Стадия освоения

Внедрено в производство

Результаты испытаний

Соответствует технической характеристике изделия (устройства)

Технико-экономический эффект

Улучшается качество литья на 20...25%, снижается расход топлива

Возможность передачи за рубеж

Возможна передача за рубеж

Дата поступления материала

04.10.2000

Инновации и люди

У павильонов Уральской выставки «ИННОВАЦИИ 2010» (г. Екатеринбург, 2010 г.)

Мероприятия на выставке "Инновации и инвестиции - 2008" (Югра, 2008 г.)

Открытие выставки "Малый бизнес. Инновации. Инвестиции" (г. Магнитогорск, 2007 г.)

Демонстрация разработок на выставке "Малый бизнес. Инновации. Инвестиции" (г. Магнитогорск, 2007 г.)