ИННОВАЦИИ БИЗНЕСУ

ПОДРОБНАЯ ИНФОРМАЦИЯ

Заявку на получение дополнительной информации по этому проекту можно заполнить здесь.

Номер

47-090-00

Наименование проекта

Полевой прибор для определения вероятного разбавления молока водой.

Назначение

Определение вязкости молока перед сдачей на приемный пункт по коэффициенту скольжения

Рекомендуемая область применения

В аграрной промышленности при приеме молока для промышленной переработки

Описание

Результат выполнения конструкторско-технологической разработки.

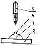
Состоит из сегмента 1 (см.рисунок), опоры 2, пипетки 3. Капля молока 4 изображена условно. Чистое молоко содержит воду, структуризированную относительно белкам и жирам и коэффициент вязкости имеет значение, соответствующее только этому состоянию молока. Чистое молоко представляет собой единый биологический продукт. Если молоко разбавить водой, то получится раствор биологического продукта в воде. При этом структуризация нарушится и резко изменится вязкость. В разбвленном молоке ведущую роль играет коэффициент поверхностного натяжения, а, значит, и коэффициент скольжения. Если капнуть жирным молоком на сегмент, капля не растекается, а из молока, разбавленного водой, сразу разбежится вниз к основанию.



Преимущества перед известными аналогами

Прибор имеет сегменты определенных радиусов, соответствующих установленным коэффициентам поверхностного натяжения и коэффициентам скольжения

Стадия освоения

Внедрено в производство

Результаты испытаний

Соответствует технической характеристике изделия (устройства)

Технико-экономический эффект

Снижение трудоемкости в 1,8 раза.

Возможность передачи за рубеж

За рубеж не передаётся

Дата поступления материала

07.07.2000

Инновации и люди

У павильонов Уральской выставки «ИННОВАЦИИ 2010» (г. Екатеринбург, 2010 г.)

Мероприятия на выставке "Инновации и инвестиции - 2008" (Югра, 2008 г.)

Открытие выставки "Малый бизнес. Инновации. Инвестиции" (г. Магнитогорск, 2007 г.)

Демонстрация разработок на выставке "Малый бизнес. Инновации. Инвестиции" (г. Магнитогорск, 2007 г.)