ИННОВАЦИИ БИЗНЕСУ

ПОДРОБНАЯ ИНФОРМАЦИЯ

Заявку на получение дополнительной информации по этому проекту можно заполнить здесь.

Номер

24-207-00

Наименование проекта

Полуавтомат для сверления и зенкования отверстий

Назначение

Сверление отверстий в деталях типа "втулка" и зенкования одновременно с двух сторон.

Рекомендуемая область применения

При сверлении отверстий в деталях типа "втулка" и зенкования одновременно с двух сторон.

Описание

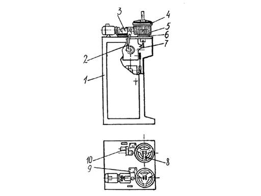
Полуавтомат состоит из станины1(см.рисунок), на которой расположены свер-лильная головка 3, две зенковочные головки 10, одна из которых расположена внутри кассеты 4, две стойки с храповым механизмом 6 и два подпружиненных фиксатора 9. Внутри станины установлены злектродвигатель с редуктором, узел распределительного вала 7, рычаг включения головок 2 иэлектрошкаф.

Кассету с заготовками5устанавливают на стойку, которую закрепляют при помощиэксцентрика и рычага 8. Затем поворачивают кассету. Установив первую заготовку против сверлильной головки,включают станок. От электродвигателя через клиноременную передачу, червячную пару и предохранительные шариковые муфты вращение передается на два распределительных вала. Предохранительные муфты обеспечивают самостоятельную работу каждого вала.

Кулачки, расположенные на первом распределительном валу, служат для подачи сверлильной головки при сверлении и поворота кассеты с заготовками на определенный угол, в зависимости от диаметра заготовки, при установкеследующей заготовки перед сверлильной головкой,

Кулачки, расположенные на втором распределительном валу, служат дпя подачи двух зенковочных головок при зенковании и поворота кассеты с просвер-ленными заготовками на первой позиции. Фиксация заготовки производится подпру-жиненным фиксатором.

Во время операции сверления производят зарядку заготовками следующей кассеты. После окончания сверления заготовок первой кассеты, ее переставляют на операцию зенкования, вторую заряженную кассету устанавливают на операцию сверления.

После сверления и зенкования всех заготовок в кассете каждая муфта авто-матически оканчивает свой распределительный вал с помощью рычага иэлектро-магнита. Кассета с деталями освобождается.


Полуавтомат для сверления и зенкования отверстий

Преимущества перед известными аналогами

Компактность, надежность в эксплуатации.

Стадия освоения

Внедрено в производство

Результаты испытаний

Соответствует технической характеристике изделия (устройства)

Технико-экономический эффект

Снижение трудоемкости, улучшение качества изделий.

Возможность передачи за рубеж

Возможна передача за рубеж

Дата поступления материала

18.07.2000

Инновации и люди

У павильонов Уральской выставки «ИННОВАЦИИ 2010» (г. Екатеринбург, 2010 г.)

Мероприятия на выставке "Инновации и инвестиции - 2008" (Югра, 2008 г.)

Открытие выставки "Малый бизнес. Инновации. Инвестиции" (г. Магнитогорск, 2007 г.)

Демонстрация разработок на выставке "Малый бизнес. Инновации. Инвестиции" (г. Магнитогорск, 2007 г.)