ИННОВАЦИИ БИЗНЕСУ

ПОДРОБНАЯ ИНФОРМАЦИЯ

Заявку на получение дополнительной информации по этому проекту можно заполнить здесь.

Номер

24-187-00

Наименование проекта

Способ разделения смеси кислот

Назначение

Отделение соляной кислоты от плавиковой с целью снижения себестоимости.

Рекомендуемая область применения

При отделении соляной кислоты от плавиковой с целью снижения себестоимости.

Описание

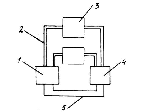
Способ разделения смеси кислот реализуется по схеме установки, включающей в себя электролизер 1 (см.рисунок), каналы 2, емкости 3, электролитическую ячейку 4, электропроводники 5.

Смесь соляной и ппавиковой кислот поступает в электролизер. В процессе элек-тролиза выделяются газообразные хлор и водород, которые по каналам поступают в накопительные емкости, и далее в электролитическую ячейку - каждый к своему элек-троду.

В процессе синтеза хлора и водорода образуется хлористый водород и выделя-ется электроэнергия. Электроэнергия составляет 92% от затраченной на получение электролизом хлора и водорода.


Отсутствие высокой температуры синтеза и герметичность схемы устройства обеспечивают высокую чистоту соляной и плавиковой кислот, экологическую чистоту процесса.

Схема установки для разделения смеси кислот

Преимущества перед известными аналогами

Отсутствие высокой температуры синтеза, герметичность схемы устройства, экологическая чистота процесса.

Стадия освоения

Способ (метод) проверен в лабораторных условиях

Результаты испытаний

Технология обеспечивает получение стабильных результатов

Технико-экономический эффект

Снижение себестоимости в 9 раз.

Возможность передачи за рубеж

Возможна передача за рубеж

Дата поступления материала

05.07.2000

Инновации и люди

У павильонов Уральской выставки «ИННОВАЦИИ 2010» (г. Екатеринбург, 2010 г.)

Мероприятия на выставке "Инновации и инвестиции - 2008" (Югра, 2008 г.)

Открытие выставки "Малый бизнес. Инновации. Инвестиции" (г. Магнитогорск, 2007 г.)

Демонстрация разработок на выставке "Малый бизнес. Инновации. Инвестиции" (г. Магнитогорск, 2007 г.)