ИННОВАЦИИ БИЗНЕСУ

ПОДРОБНАЯ ИНФОРМАЦИЯ

Заявку на получение дополнительной информации по этому проекту можно заполнить здесь.

Номер

06-056-00

Наименование проекта

Проведение подземного ремонта на скважинах с экстремально высоким пластовым давлением

Назначение

Для исключения излива пластовой жидкости на поверхность при ее замене.

Рекомендуемая область применения

Эксплуатация и ремонт нефтяных скважин.

Описание

"Частное техническое решение, имеющее самостоятельное значение".

При спуске насосно-компрессорных труб (НКТ) в скважины с экстремально высоким пластовым давлением с целью смены объема жидкости происходит излив пластовой жидкости через НКТ на поверхность.

Предлагается проводить ремонт скважин с использование стеклянной заглушки (см. рис. 1). В качестве стеклянной заглушки используются стекла от фильтрующего противогаза, которые устанавливаются между двумя переходниками на конце колонны НКТ.

После спуска колонны НКТ в компановке со стеклянной заглушкой на требуемую глубину, на устье монтируется противовыбросовое устройство (см. рис. 2), представляющее собой шаровой кран и патрубок длиной 1,5 м с заглушкой, внутри которого закладывается металлический ломик. После открытия шарового крана ломик падает и разбивает стеклянную заглушку. Ломик задерживается в фильтре, установленном в конце колонны НКТ. На горизонтальных и наклонно-направленных скважинах с высоким углом кривизны стеклянная заглушка разрушается давлением, создаваемым агрегатом ЦА-320.

Гидравлические испытания стеклянной заглушки на прочность показали, что заглушка с одним стеклом выдерживает давление до 18 атм. Количество стекол в заглушке подбирается в зависимости от ожидаемого буферного давления в скважине. Вытесняемая жидкость из затрубного пространства через устьевой герметизатор направляется в емкость.

Рис.1 (Конструкция стеклянной заглушки)

1 - переходники, 2 - стекла

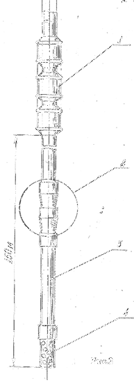
Рис. 2

1 - Шаблон d - 119 мм, 2 - узел стеклянного клапана, 3 - труба, 4 - фильтр

Преимущества перед известными аналогами

Обеспечение безопасных условий труда, решение экологических проблем.

Стадия освоения

Внедрено в производство

Результаты испытаний

Технология обеспечивает получение стабильных результатов

Технико-экономический эффект

Повышение производительности труда на 25-30%, улучшение культуры производства.

Возможность передачи за рубеж

Возможна передача за рубеж

Дата поступления материала

02.11.1999

Инновации и люди

У павильонов Уральской выставки «ИННОВАЦИИ 2010» (г. Екатеринбург, 2010 г.)

Мероприятия на выставке "Инновации и инвестиции - 2008" (Югра, 2008 г.)

Открытие выставки "Малый бизнес. Инновации. Инвестиции" (г. Магнитогорск, 2007 г.)

Демонстрация разработок на выставке "Малый бизнес. Инновации. Инвестиции" (г. Магнитогорск, 2007 г.)