ИННОВАЦИИ БИЗНЕСУ

ПОДРОБНАЯ ИНФОРМАЦИЯ

Заявку на получение дополнительной информации по этому проекту можно заполнить здесь.

Номер

83-129-00

Наименование проекта

Ударно-сверлильная насадка к ручному инструменту

Назначение

Ударное сверление

Рекомендуемая область применения

Инструментальное производство

Описание

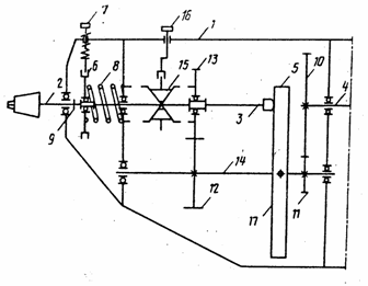
Ударно-сверлильная насадка (см. рисунок) содержит корпус 1, шпиндель 2, наковальню 3, вал двигателя 4, ударник 5. На шпинделе неподвижно в осевом направлении относительно его установлен ограничитель осевого перемещения шпинделя, выполненный в виде диска 6, на цилиндрической поверхности которого имеется паз или кольцевая проточка. В корпусе напротив диска установлен подпружиненный двухпозиционный фиксатор 7, который может входить в паз или кольцевую проточку диска. Между перегородкой корпуса и диском установлена отжимная пружина 8, обеспечивающая на холостом ходу гарантированный зазор между наковальней и ударником. На шпинделе также имеется ограничитель 9 осевого перемещения шпинделя. С валом двигателя шпиндель кинематически связан посредством шестерен 10-13 промежуточного вала 14 и трехпозиционной муфты 15. Муфта установлена на шлицах на шпинделе и с помощью рычага управления 16 может находиться в зацеплении с шестерней 13, перегородкой корпуса и в нейтральном положении. Торцовая поверхность 17 ударника взаимодействует с наковальней. Ударно-сверлильная насадка к ручному инструменту обеспечивает сверлильный, ударно-сверлильный и ударный режимы работы.

Сверлильный режим. Фиксатор вводится в паз диска, при этом между наковальней шпинделя и торцовой поверхностью ударника обеспечивается гарантированный зазор, а шпиндель фиксируется в осевом направлении. Трехпозиционная кулачковая муфта взаимодействует с шестерней 13. При вращении вала двигателя шпиндель вращается без осевых перемещений и осуществляется операция сверления.

Ударно-сверлильный режим. Фиксатор выведен из паза диска. Муфта взаимодействует с шестерней 13. Во время холостого хода отжимная пружина смещает шпиндель и ограничитель прижимается к внутренней обойме подшипника, неподвижно закрепленного в корпусе. При этом обеспечивается гарантированный зазор между наковальней и торцовой поверхностью ударника. На холостом ходу шпиндель вращается,не совершая осевых колебаний, что облегчает точный подвод сверла к обрабатываемой поверхности. При прижатии сверла к обрабатываемой поверхности отжимная пружина сжимается, шпиндель перемещается в осевом направлении и поверхность ударника начинает взаимодействовать с наковальней шпинделя. При этом шпиндель совершает как вращательное, так и осевое движения.

Ударный режим. Муфта посредством рычага выводится из зацепления с шестерней 13 и вводится в зацепление с кулачками, расположенными на перегородке корпуса. Шестерня 13 при этом свободно вращается относительно невращающегося шпинделя. Шпиндель может совершать только осевые перемещения.


При прижатии инструмента к обрабатываемой поверхности наковальня взаимодействует с поверхностью ударника и осуществляется ударная операция. Если имеется необходимость в свободном вращательном движении инструмента, то муфта устанавливается в нейтральном положении.

Кинематическая схема насадки

Преимущества перед известными аналогами

Ударник выполнен в виде кольца и двух жестко закрепленных на нем дополнительно расположенных грузов

Стадия освоения

Внедрено в производство

Результаты испытаний

Технология обеспечивает получение стабильных результатов

Технико-экономический эффект

Расширились функциональные возможности ручного инструмента, на 25 % повысилась производительность труда.

Возможность передачи за рубеж

Возможна передача за рубеж

Дата поступления материала

12.09.2006

Инновации и люди

У павильонов Уральской выставки «ИННОВАЦИИ 2010» (г. Екатеринбург, 2010 г.)

Мероприятия на выставке "Инновации и инвестиции - 2008" (Югра, 2008 г.)

Открытие выставки "Малый бизнес. Инновации. Инвестиции" (г. Магнитогорск, 2007 г.)

Демонстрация разработок на выставке "Малый бизнес. Инновации. Инвестиции" (г. Магнитогорск, 2007 г.)