ИННОВАЦИИ БИЗНЕСУ

ПОДРОБНАЯ ИНФОРМАЦИЯ

Заявку на получение дополнительной информации по этому проекту можно заполнить здесь.

Номер

79-027-00

Наименование проекта

Схема управления водонагревателем с использованием модуля LOGO

Назначение

Для повышения производительности труда рабочих животноводческих ферм

Рекомендуемая область применения

Агропромышленный комплекс, предприятия бытового назначения

Описание

Нагрев воды для технологических нужд с помощью УАП-400 занимает до 4 ч согласно традиционно распространенной схеме управления водонагревателем.

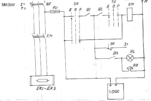
Новая схема управления нагревателем с привлечение универсального логического модуляlogoпредставлена на рисунке 1,гдеqf- автоматический выключатель ; КМ - магнитный пускатель ;sa- переключатель с позициями А , О , и Р ( А - автоматическая работа, Р- ручной режим) ; ЕК1-ЕК3 -нагревательные элементы водонагревателя;sk-контакт температурного реле; hl, ha- соответственно световой и звуковой сигналы;q1-q3- выходные контакты модуля; 11 - провод к соответствующему входу модуля.

Рис. 1

Рассмотрим работу схемы. Допустим выключательqfвключен, переключательsaстоит в позиции А, а температура воды ниже заданного уровня, тогда контактskзамкнут. В определенное время суток (например в 5 ч утра) подается сигнал на вход 1 элемента ВО1, поэтому контактsaзамыкается и на вход 11 модуля поступает сигнал. Контактq2замыкается и включает пускатель КМ. Идет подогрев воды. В то же время входной сигнал 11 инвентирует выходной сигнал элемента ВО2, т. е. контактq3 разомкнут и сигналы отключены.

При достижении водой заданной температуры контактskотключает сигнал 11, поэтому размыкается контактq2и замыкается контактq3, таким образом, отключается пускатель КМ, и нагрев воды прекращается. Одновременно включаются сигналыhlиha(на практике достаточно иметь один сигнал), сообщающие о готовности воды.

При охлаждении воды произойдет автоматическое включение пускателя.

В заданное время суток (например 6ч утра) сигнал со входа 1 элемента ВО снимается и контактq1размыкается , и т. д.

Логическая часть схемы модуляlogoприведена на рис. 2, где ВО1-элемент «часы» (обозначения приведены в условных заводских) ; ВО2- элемент НЕ; 11-вход модуля;q1-q3 - выходные контакты модуля; mo-su- дни недели; 05:00- 06:00 - моменты автоматического включения и отключения входных сигналов элемента ВО1 в часах и минутах суток.

Рис.2

Предварительный ( по отношению ко времени прихода персонала на работу) подогрев воды можно делать в гаражах, ремонтных мастерских и т. п. организациях.

Преимущества перед известными аналогами

Аналоги не известны

Стадия освоения

Опробовано в условиях опытной эксплуатации в ВГАУ

Результаты испытаний

Технология обеспечивает получение стабильных результатов

Технико-экономический эффект

Повышение производительности труда за счет экономии времени на подготовительные работы (нагрев воды)

Возможность передачи за рубеж

За рубеж не передаётся

Дата поступления материала

02.02.2000

Инновации и люди

У павильонов Уральской выставки «ИННОВАЦИИ 2010» (г. Екатеринбург, 2010 г.)

Мероприятия на выставке "Инновации и инвестиции - 2008" (Югра, 2008 г.)

Открытие выставки "Малый бизнес. Инновации. Инвестиции" (г. Магнитогорск, 2007 г.)

Демонстрация разработок на выставке "Малый бизнес. Инновации. Инвестиции" (г. Магнитогорск, 2007 г.)