ИННОВАЦИИ БИЗНЕСУ

ПОДРОБНАЯ ИНФОРМАЦИЯ

Заявку на получение дополнительной информации по этому проекту можно заполнить здесь.

Номер

11-120-00

Наименование проекта

Гидравлический съёмник

Назначение

Демонтаж элементов узлов, связанных между собой посадками с натягом.

Рекомендуемая область применения

Ремонт станков и оборудования.

Описание

Результат выполнения конструкторской разработки.

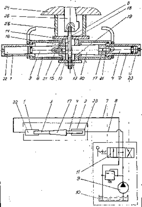
Гидравлический съемник содержит два цилиндра 1 и 2 (см. рисунок) с плунжерами 3 и 4, извлекатель, связанный через промежуточный механизм с цилиндрами, сообщенными трубопроводами 7 и 8 с системой управления, включающей насос 9, гидробак 10 и распределитель 11. Извлекатель выполнен в виде шпильки 5 с шайбой 12 и гайкой 13 на одном ее резьбовом конце и опорной шайбой 14 на другой ее половине. Промежуточный механизм включает размещенные в корпусе 6 две ползушки 15 и 16 и клин 17 между ними. Каждая из ползушек выполнена с отверстием 18 для прохода шпильки и с наклонной плоскостью 19, взаимодействующей с клином.



Клин имеет паз 20 в средней его части и соединен посредством штифтов 21 с плунжерами и цилиндров. Рабочие полости 22 и23 цилиндров соединены трубопроводами через распределитель 11, с насосом и гидробаком.



Рис. Гидравлический съёмник

Гидравлический съемник работает следующим образом.

Съемник устанавливают на место демонтажа, ввертывая шпильку в резьбовое отверстие демонтируемой детали, и упирая опорную шайбу в торец вала 24 с демонтируемой шпонкой 25. При подаче команды на распределитель и переходе его в левую позицию, рабочая жидкость, подается в полость правого цилиндра. Под действием давления в цилиндре плунжер перемещается влево совместно с клином и плунжером. При этом клин, взаимодействующий с наклонными плоскостями ползушек воздействует с большим усилием на ползушки, которые перемещаясь в противоположные стороны, воздействуют на опорные шайбы через втулку 26 на торец вала. При этом шпонка трогается с места и начинает выходить из паза вала. При переключении распределителя вправо рабочая жидкость поступает в полость левого цилиндра под действием чего плунжер и клин перемещаются вправо, образуя зазор между клином и наклонными плоскостями ползушек, снимая нагрузку с опорных шайб. При этом съемник готов к следующей выпрессовке.

Получено решение о выдаче свидетельства на полезную модель. Заявка № 98115462/20 (016994).

Преимущества перед известными аналогами

Аналоги не известны.

Стадия освоения

Внедрено в производство

Результаты испытаний

Технология обеспечивает получение стабильных результатов

Технико-экономический эффект

Снижение трудоёмкости ремонта; расширение эксплуатационных возможностей; компактен и удобен в работе.

Возможность передачи за рубеж

Возможна передача за рубеж

Дата поступления материала

07.06.2000

Инновации и люди

У павильонов Уральской выставки «ИННОВАЦИИ 2010» (г. Екатеринбург, 2010 г.)

Мероприятия на выставке "Инновации и инвестиции - 2008" (Югра, 2008 г.)

Открытие выставки "Малый бизнес. Инновации. Инвестиции" (г. Магнитогорск, 2007 г.)

Демонстрация разработок на выставке "Малый бизнес. Инновации. Инвестиции" (г. Магнитогорск, 2007 г.)