ИННОВАЦИИ БИЗНЕСУ

ПОДРОБНАЯ ИНФОРМАЦИЯ

Заявку на получение дополнительной информации по этому проекту можно заполнить здесь.

Номер

68-023-99

Наименование проекта

Комбинированное колесо

Назначение

Для предотвращения уплотнения почвы при движении трактора

Рекомендуемая область применения

Колесо используется в качестве движителя сельскохозяйственных тракторов при полевых работах

Описание

Описание к листку № 68-023-99

Проведенные в Горском ГАУ теоретические и экспериментальные исследования показали , что наиболее перспективным движителем для трактора является комбинированный , представляющий собой сочетание колесного обода с пневматическими башмаками и специальными щелевателями (рыхлителями) .

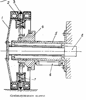
На рисунке представлено комбинированное колесо , которое включает: обод 1 , пневматические башмаки 2. щелеватели 3 , фигурный ползун 4 , щелевой рукав 5 , гидроцилиндр 6 , возвратные пружины 7 . Колесо получает крутящий момент от полуоси трактора 8 . При движении трактора по дорогам колесо работает в обычном режиме , щелеватели не работают .

При выполнении полевых работ водитель с помощью гидроцилиндра 6 перемещает фигурный ползун 4 относительно шлицевого рукава 5 . Ползун 4 опускает щелеватели 3 на глубину , превышающую диаметр обода колеса . В данном случае колесо выполняет функцию образования внешней (движущей) силы и функцию рыхления (разуплотнения) почвы .

Щели , образованные щелевателями , лучше пропускают воздух и воду , что приводит к значительному улучшению газо- и водообмена , а следовательно , увеличению урожайности и уменьшению эрозии почвы .




Преимущества перед известными аналогами

Аналоги неизвестны

Стадия освоения

Проверено в лабораторных условиях

Результаты испытаний

Технология обеспечивает получение стабильных результатов

Технико-экономический эффект

Повышено на 10-15% тяговое усилие трактора; на 8-12% увеличилась производительность труда; уменьшается эрозия почвы

Возможность передачи за рубеж

За рубеж не передаётся

Дата поступления материала

12.08.1999

Инновации и люди

У павильонов Уральской выставки «ИННОВАЦИИ 2010» (г. Екатеринбург, 2010 г.)

Мероприятия на выставке "Инновации и инвестиции - 2008" (Югра, 2008 г.)

Открытие выставки "Малый бизнес. Инновации. Инвестиции" (г. Магнитогорск, 2007 г.)

Демонстрация разработок на выставке "Малый бизнес. Инновации. Инвестиции" (г. Магнитогорск, 2007 г.)