ИННОВАЦИИ БИЗНЕСУ

ПОДРОБНАЯ ИНФОРМАЦИЯ

Заявку на получение дополнительной информации по этому проекту можно заполнить здесь.

Номер

20-287-99

Наименование проекта

Доработка рабочих органов тяжелых культиваторов КТ-3,9, КТС-10-Т

Назначение

Улучшение равномерности хода по глубине рабочих органов тяжелых культиваторов

Рекомендуемая область применения

Фермерские и коллективные хозяйства

Описание

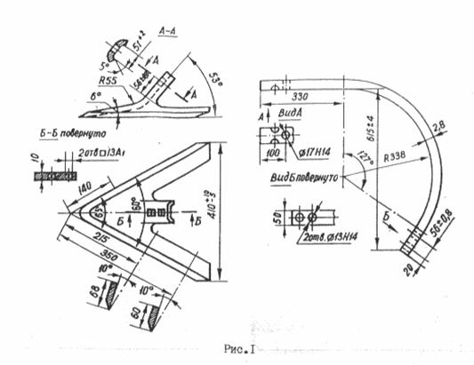
Согласно ГОСТ 1343-76 угол у лапы должен быть 53 град (рис.1) при производстве культиваторов на заводах Казахстана этот угол не выдерживается. Доработка заключается в подгибании стойки лап на гидропрессе усилием 40 т.с. с применением гибочного устройства.

На пластине 1 (рис.2) приварены два упора 2. Под шток гидропресса устанавливается упор 3. Ограничение прогиба стойки 5 осуществляется с помощью регулируемых прокладок 4. Место гиба стойки выбирается в зависимости от выявленного брака (рис. 3) Гибка в точке А увеличивает Н, в точке Б не уменьшает Н. В точке В уменьшает Н незначительно. А в точке С уменьшает Н значительно. После доработки стоек получены средний угол 51,1 град и высота стойки Н 523 мм с отклонением плюс минус 4 мм.

У кронштейнов (рис.4) крепления лап наблюдается непараллельность опорного пальца в уголках 2. Отклонение достигает 3-5 град, что приводит к неправильной установке лап. Этот недостаток устраняется с помощью фрезерования плоскости А на пальце 1 (рис. 5)

После сборки доработанных рабочих органов лезвия лап можно установить в одной плоскости с помощью регулировочного винта. Такая доработка выполнима в любом хозяйстве, где есть гидравлический пресс и фрезерный станок. Экономится горючее при обработке почв.

Преимущества перед известными аналогами

Доработка рабочих органов позволяет переоборудовать культиватор в сеялку-культиватор

Стадия освоения

Внедрено в производство

Результаты испытаний

Технология обеспечивает получение стабильных результатов

Технико-экономический эффект

Улучшение качества изделий

Возможность передачи за рубеж

За рубеж не передаётся

Дата поступления материала

15.11.1999

Инновации и люди

У павильонов Уральской выставки «ИННОВАЦИИ 2010» (г. Екатеринбург, 2010 г.)

Мероприятия на выставке "Инновации и инвестиции - 2008" (Югра, 2008 г.)

Открытие выставки "Малый бизнес. Инновации. Инвестиции" (г. Магнитогорск, 2007 г.)

Демонстрация разработок на выставке "Малый бизнес. Инновации. Инвестиции" (г. Магнитогорск, 2007 г.)