ИННОВАЦИИ БИЗНЕСУ

ПОДРОБНАЯ ИНФОРМАЦИЯ

Заявку на получение дополнительной информации по этому проекту можно заполнить здесь.

Номер

10-003-99

Наименование проекта

Портативная, складная и переносная метеобарованна

Назначение

Для создания искусственного перепада давления воздуха с целью профилактики метеочувствительности и простудных заболеваний.

Рекомендуемая область применения

Процесс тренировки пациентов к резким суточным колебаниям атмосферного давления в реабилитационных центрах, в профилакториях промышленных предприятий, в медицинских кабинетах на производстве, в поликлиниках.

Описание

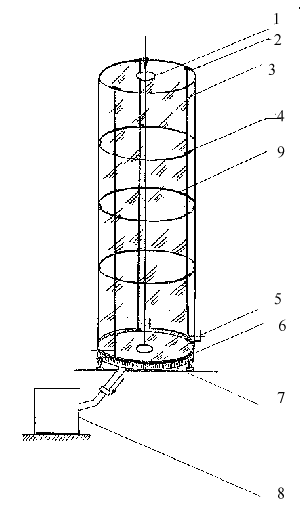
Метеобарованна (рис. 1) состоит из платформы 7, на которой крепятся три направляющие 3, которые сверху фиксируются на неподвижном кольце 2. Таким образом каркас образован кольцами, поверх которых располагается мешкообразная полиэтиленовая пленка. К ней с помощью лейкопластыря укрепляют подвижные кольца. Для создания герметичности нижнее кольцо через уплотнитель 6 прижимается к платформе посредством зажимов 5.

Метеобарованна работает следующим образом : пациент поднимет нижнее кольцо вверх, что позволяет складываться как гофре и перемещаться кольцам вместе с пленкой по направляющим. Разместившись внутри каркаса пациент опускает кольца 9 вниз, создав герметизацию зажимами. Установка подготовлена к работе. Откачивая воздух из камеры генератором 8 искусственного перепада давления, в качестве которого эффективно показал себя бытовой пылесос, регулируют внутреннее давление с помощью перепускных клапанов 1.

Рекомендуемый режим тренировок : один раз в квартал 7-10 дней подряд ежедневно, одна процедура длительностью 10-15 мин; искусственные перепады давления внутри камеры ± 10-15 мм. рт. ст. в ритме 3 мин. пониженное давление, 2 мин. повышенное давление.

Преимущество данного варианта метеобарованны заключается в портативности, дешевизне и, главное в том, что она складная и переносная, что особенно удобно на производстве.



Рис. 1. Портативная, складная и переносная метеобарованна

Преимущества перед известными аналогами

Портативность, в том, что она складная и переносная, что особенно удобно на производстве.

Стадия освоения

Внедрено в производство

Результаты испытаний

Соответствует технической характеристике изделия (устройства)

Технико-экономический эффект

снижение материалоемкости, экономия материалов,

Возможность передачи за рубеж

За рубеж не передаётся

Дата поступления материала

06.01.1999

Инновации и люди

У павильонов Уральской выставки «ИННОВАЦИИ 2010» (г. Екатеринбург, 2010 г.)

Мероприятия на выставке "Инновации и инвестиции - 2008" (Югра, 2008 г.)

Открытие выставки "Малый бизнес. Инновации. Инвестиции" (г. Магнитогорск, 2007 г.)

Демонстрация разработок на выставке "Малый бизнес. Инновации. Инвестиции" (г. Магнитогорск, 2007 г.)