ИННОВАЦИИ БИЗНЕСУ

ПОДРОБНАЯ ИНФОРМАЦИЯ

Заявку на получение дополнительной информации по этому проекту можно заполнить здесь.

Номер

06-067-99

Наименование проекта

Кольмататор

Назначение

Защита пористых пластов от инфильтрата бурового раствора путем создания в стенке скважины защитного кольматационного слоя.

Рекомендуемая область применения

Бурение и заканчивание нефтяных и газовых скважин

Описание

67-99

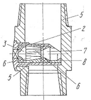
Кольмататор (см.рис.) содержит полый корпус 1 с резьбой на концах для установки над долотом и с радиальным отверстием, в которое ввинчена цилиндрическая втулка 2 со срезанным под углом к оси торцом , расположенным в полости корпуса, для ввода части потока жидкости, используемой для кольматации.Остальная часть жидкости поступает на насадки долота.


Во втулке 2 установлена кольматирующая гидромониторная насадка 3, сужающаяся полость которой выполнена с фокусирующей поверхностью 4 в виде гиперболического параболоида или однополостного гиперболоида вращения и составляет высокочастотный гидрогенератор вместе с размещенными перед ней последовательно, по ходу потока жидкости, антизавихрителем 5 с направляющими лопостями 6 и второй гидромониторной насадкой 7 большего, по сравнению с кольматирующей, диаметра с упором 8.

Кольмататор работает следующим образом.

После спуска в скважину и подачи жидкости в бурильную колонну часть потока жидкости из внутренней полости корпуса 1 попадает во вторую гидромониторнуюнасадку 7 большего диаметра, истекает из нее, спрямляясь продольными лопастями 6 антизавихрителя 5 и отражаясь, частично, от фокусирующей поверхности 4кольматирующей насадки меньшего диаметра ,попадает на стенку скважины 9,кольматируя ее. Соударение частиц потока жидкости, истекающей из насадки 7, с отраженными от поверхности 4 кольматирующей насадки 3 обеспечиваетвысокочастотное гидродинамическое возбуждение ее.

Энергия осцилляции (колебаний) кольматирующих частиц потокапропорциональна, как известно, квадратам частоты и амплитудыгидродинамического возбуждения. Поэтому в результате использования предлагаемого высокочастотного кольмататора увеличиваются глубина и плотность кольматационного слоя, а значит снижается интенсивность загрязнения прискваженной зоны пласта инфильтратом бурового раствора.

Преимущества перед известными аналогами

Аналоги не известны

Стадия освоения

Внедрено в производство

Результаты испытаний

Технология обеспечивает получение стабильных результатов

Технико-экономический эффект

Возрастает при вскрытии бурением малопроницаемых продуктивных нефтяных пластов - проницаемостью до 0,1 мкм2.

Возможность передачи за рубеж

За рубеж не передаётся

Дата поступления материала

11.01.1999

Инновации и люди

У павильонов Уральской выставки «ИННОВАЦИИ 2010» (г. Екатеринбург, 2010 г.)

Мероприятия на выставке "Инновации и инвестиции - 2008" (Югра, 2008 г.)

Открытие выставки "Малый бизнес. Инновации. Инвестиции" (г. Магнитогорск, 2007 г.)

Демонстрация разработок на выставке "Малый бизнес. Инновации. Инвестиции" (г. Магнитогорск, 2007 г.)