ИННОВАЦИИ БИЗНЕСУ

ПОДРОБНАЯ ИНФОРМАЦИЯ

Заявку на получение дополнительной информации по этому проекту можно заполнить здесь.

Номер

06-066-99

Наименование проекта

Скважинное пакерующее устройство

Назначение

Создание герметичной перемычки в заданном интервале заколомного пространства скважины

Рекомендуемая область применения

Бурение и заканчивание нефтяных и газовых скважин

Описание

66-99

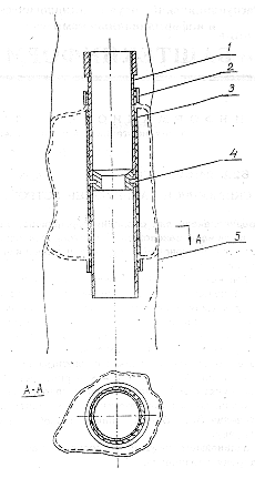
Пакерующее устройство включает фильтрующий рукав 3, закрепленный колльцами 2 на обсадной трубе 1 того же диаметра, что и спускаемая в скважину колонна обсадных труб.

Пакеровка происходит при нагнетании через клапан 4 цементного раствора в рукав при определенном перепаде давления. Эластичный рукав с цементным раствором заполняет затрубное пространство в месте его установки с плотным прижатиеим к стенкам 5 скважины любой конфигурации - каверны, желоба и т.д. (на рис. показано пунктиром). Фильтрация и уплотнение цементного раствора - камня происходит практичеки моментально, а с выдержкой в течение 3...5 мин пакер способен принимать определенную нагрузку.


В дальнейшем несущая способность пакера изменяется только в сторону увеличения.

Другим важным преимуществом является способность расширяться до диаметра 1000 мм и более ( в зависимости от диаметра обсадной колонны и конкретных условий применения).

Пакер проходной и не имеет сужений; втулка в клапанном узле 4 разбуриваемая. Максимальный наружный диаметр пакера при спуске на трубах диаметром 146 мм составляет 185 мм (т.е. меньше диаметра забойных двигателей, осуществляющих бурение ствола скважины).

Предложено несколько вариантов технологических процессов с применением скваженного пакерующего устройства для ступенчатого и манжетного цементирования при бурении наклононаправленных и горизонтальных скважин.

Преимущества перед известными аналогами

Аналоги не известны

Стадия освоения

Внедрено в производство

Результаты испытаний

Технология обеспечивает получение стабильных результатов.

Технико-экономический эффект

Получено кратное увеличение дебитов нефти при бурении наклононаправленных и горизонтальных скважин.

Возможность передачи за рубеж

За рубеж не передаётся

Дата поступления материала

12.02.1999

Инновации и люди

У павильонов Уральской выставки «ИННОВАЦИИ 2010» (г. Екатеринбург, 2010 г.)

Мероприятия на выставке "Инновации и инвестиции - 2008" (Югра, 2008 г.)

Открытие выставки "Малый бизнес. Инновации. Инвестиции" (г. Магнитогорск, 2007 г.)

Демонстрация разработок на выставке "Малый бизнес. Инновации. Инвестиции" (г. Магнитогорск, 2007 г.)