ИННОВАЦИИ БИЗНЕСУ

ПОДРОБНАЯ ИНФОРМАЦИЯ

Заявку на получение дополнительной информации по этому проекту можно заполнить здесь.

Номер

06-034-99

Наименование проекта

Подъемник троншейный гидравлический (ПТГ)

Назначение

Подъем и фиксация участка вскрытого магистрального трубопровода, заполненного транспортируемой жидкостью, при его капитальном ремонте.

Рекомендуемая область применения

Техническая эксплуатация и ремонт средств трубопроводного транспорта

Описание

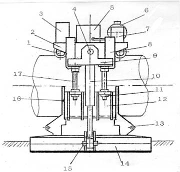
Подъемное устройство (см. рис.) состоит из верхней ходовой и нижней силовой частей. Верхняя часть содержит тележку 1, на раме 2 которой установлены ходовой механизм 3, привод гидросистемы 6 с насосом 7, емкость 5 с рабочей жидкостью, телескопическая штанга (на рисунке не показана) с пультом управления. Нижняя часть содержит силовые гидроцилиндры 10, траверсы 9, опорные башмаки 14, подвесной ложемент 12, шарнирные рамы 13, профильные упоры 16.

Корпуса гидроцилиндров 10 и ось 4 связаны с траверсами 9, а штоки цилиндров - с опорными башмаками 14 посредством оси 15. На траверсе винтовыми тягами 17 и гайками 11 установлен подвесной ложемент 12.

Нижняя часть устройства с верхней тележкой, установленной на трубопровод сверху, соединяется выдвижными штырями. Штыри находятся на траверсах, которые входят в пазы планок 8, установленных на раме тележки.

Установка и монтаж устройства на трубопровод, расположенный в траншее, производится в следующем порядке. На трубопровод сверху устанавливают нижнюю часть устройства в опрокинутом положении, при этом штоки гидроцилиндров должны быть вдвинуты внутрь, опорные башмаки сложены. Затем нижнюю часть устройства переворачивают вокруг трубы на 180 о и устанавливают под трубой. Далее на трубу устанавливают тележку нижней частью, соединяют шланги гидроцилиндров, и силовой кабель подключают к источнику электроэнергии. Включают привод гидростанции и подается давление к гидроцилиндрам на подъем траверс до совмещения пазов планок, установленных на раме тележки с выдвинутыми штырями, находящимися на траверсе. После этого штыри вдвигают в пазы планок и фиксируют замками.

Соединив обе части устройства, необходимо отрегулировать высоту подъема трубопровода при помощи гаек. При поднятом на необходимую высоту трубопроводе нужно установить профильные упоры до соприкосновения с опорными роликами и закрепить, зафиксировав тем самым, ложемент с трубой от опускания при падении давления в гидросистеме или отключении электроэнергии.

Подъемник используется при капитальном ремонте магистральных трубопроводов как самоходное устройство, работающее непосредственно в траншее и обеспечивающее при этом непрерывный процесс очистки наружной поверхности подземного трубопровода от старой изоляции, нанесения новой изоляции и укладки в траншее. Он также успешно применяется при ремонте дефектных участков трубопроводов, особенно в стесненных условиях, где затруднено использование кранов-трубоукладчиков для подъема трубопроводов с бровки траншеи.

В зависимости от диаметра трубопровода и длины его вскрытия одновременно могут работать два, три или четыре подъемных устройства, расставленные на определенные расстояния друг от друга и передвигающиеся поочередно на определенный шаг.

Преимущества перед известными аналогами

Аналоги не известны

Стадия освоения

Внедрено в производство

Результаты испытаний

Опробовано в условиях опытной эксплуатации

Технико-экономический эффект

Экономия материалов, снижение трудоемкости, снижение материалоемкости

Возможность передачи за рубеж

За рубеж не передаётся

Дата поступления материала

19.05.1999

Инновации и люди

У павильонов Уральской выставки «ИННОВАЦИИ 2010» (г. Екатеринбург, 2010 г.)

Мероприятия на выставке "Инновации и инвестиции - 2008" (Югра, 2008 г.)

Открытие выставки "Малый бизнес. Инновации. Инвестиции" (г. Магнитогорск, 2007 г.)

Демонстрация разработок на выставке "Малый бизнес. Инновации. Инвестиции" (г. Магнитогорск, 2007 г.)